от 13 468 ₽
Нашли дешевле?
Наличие уточняйте у наших менеджеров
Цены
Траверса ТМ-22 (Zn)
22 224 ₽
/шт Траверса ТМ-22 (эмаль)
13 468 ₽
/шт
Описание
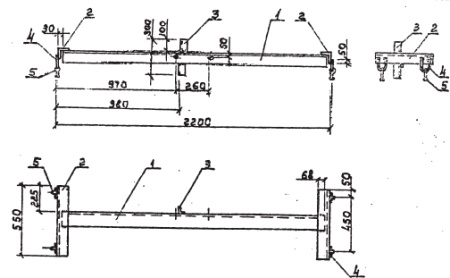
Траверсы ТМ-22 (проект 3.407.1-143.8.21) применяются при выполнении крепления проводов к стойкам типа СВ во время монтажа и установки анкерных опор воздушных линий 10 кВ.
На траверсе ТМ-22 имеются четыре петли, каждая из которых оснащена серьгой серии СРС-7-16.
Крепление траверсы к стойкам производится при помощи специальных хомутов. Для крепления к стойке СВ110 применяются хомуты марки Х-42, к стойке СВ105 - хомуты марки Х-1. Заказывать хомуты необходимо в отдельном порядке.
Габариты изделия: 2200х550х400мм.
Вес: 40,8 кг
Спецификация траверсы ТМ-22:
| ПОЗИЦИЯ | НАИМЕНОВАНИЕ ДЕТАЛИ | КОЛИЧЕСТВО | МАССА, КГ |
| 1 | Уголок 100х100х8 ГОСТ 8509--86 | 1 | 40,8 |
| 2 | Уголок 90х90х7 ГОСТ 8509--86 | 2 | |
| 3 | Уголок 50х50х5 ГОСТ 8509--86 | 2 | |
| 4 | Круг 16 ГОСТ 2590-71 | 4 | |
| 5 | Серьга СРС-7-17 ГОСТ 2725-78 | 4 |
