от
Нашли дешевле?
Наличие уточняйте у наших менеджеров
Цены
Оголовок ОГ-15 (Zn)
Оголовок ОГ-15 (эмаль)
Описание
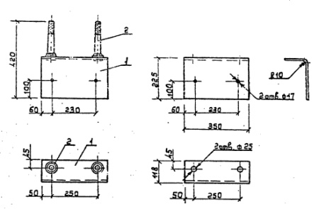
При пересечении ЛЭП 10 кВ с инженерными зданиями и сооружениями для крепления изоляторов штыревых и изолирующих натяжных подвесок к угловым или же переходным анкерным опорам применяют оголовок ОГ-15.
Оголовок ОГ-15 имеет две петли, которые оборудованы серьгами СРС-7-16.
Спецификация оголовка ОГ-15:
| ПОЗИЦИЯ | НАИМЕНОВАНИЕ ДЕТАЛИ | КОЛИЧЕСТВО | МАССА, КГ | |
| 1 | Лист 6 ГОСТ19903-14 L=330 | 1 | 14,7 | |
| 2 | Круг 16 ГОСТ 2590-71 | 3 | ||
| 3 | Штырь Ш-20-2-К-30 ГОСТ 34-13-931-86 | 1 | ||
| 4 | Серьга СРС 7-16 ГОСТ 2725-78 | 3 | ||
