от 335 ₽
Нашли дешевле?
Наличие уточняйте у наших менеджеров
Цены
Накладка ОГ-5 (Zn)
547 ₽
/шт Накладка ОГ-5 (эмаль)
335 ₽
/шт
Описание
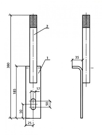
При установке анкерных опор (10 кВ) произвести последовательный переход провода, протянутого от одной натяжной подвески к другой, поможет накладка ОГ-5. На накладке находится круг с надсечкой для присоединения штыревого изолятора ШФ-20в или колпачка К-6. Применяется накладка ОГ-5 совместно с накладками ОГ-2. Монтаж накладки ОГ-5 осуществляется на верхнем срезе опор СВ-105,СВ-110 при помощи болта Б-5. Болт необходимо заказывать отдельно.
Габаритные размеры: 50х50х380 мм
Спецификация накладки ОГ-5:
| ПОЗИЦИЯ | НАИМЕНОВАНИЕ ДЕТАЛИ | КОЛИЧЕСТВО | МАССА, КГ |
| 1 | Полоса 5х50 ГОСТ103-75 L=215 | 1 | 1,1 |
| 2 | Круг 20 ГОСТ2590-71 | 1 |
