от 7 594 ₽
Нашли дешевле?
Наличие уточняйте у наших менеджеров
Цены
Надставка ТС-2 (Zn)
12 531 ₽
/шт Надставка ТС-2 (эмаль)
7 594 ₽
/шт
Описание
Надставка ТС-2 обеспечивает увеличение высоты опоры ЛЭП, что позволяет разнести линию с другими высокими инженерными сооружениями. Надставка также применяется при пересечении с высоковольтными воздушными линиями номинальным напряжением 6 кВ и 10 кВ с изолированными и неизолированными проводами.
Вес: 22.8 кг
Вес: 22.8 кг
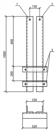
Спецификация надставки ТС-2:
|
ПОЗИЦИЯ |
НАИМЕНОВАНИЕ ДЕТАЛИ | КОЛИЧЕСТВО | МАССА, КГ |
| 1 | Уголок 90х90х7 ГОСТ8509-86 | 1 | 22,8 |
| 2 | Уголок 90х90х7 ГОСТ8509-86 | 1 | |
| 3 | Уголок 70х70х5 ГОСТ8509-86 | 2 |
