от 1 062 ₽
Нашли дешевле?
Наличие уточняйте у наших менеджеров
Цены
Кронштейн Р-6 (Zn)
1 747 ₽
/шт Кронштейн Р-6 (эмаль)
1 062 ₽
/шт
Описание
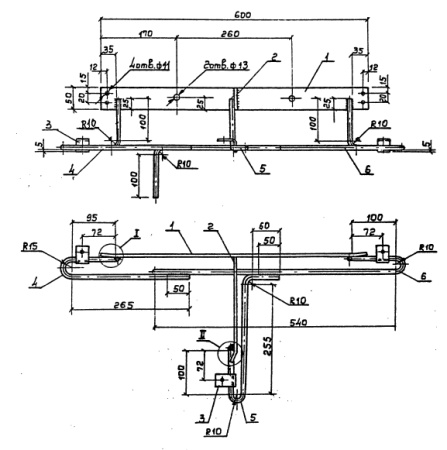
Изготовление кронштейна Р-6 производится в соответствии с Типовым проектом 3.407.1-143 "Опоры железобетонные ВЛ 10 кВ".
Кронштейн Р-6 используется для крепления вентильных разрядников типа РВО-6У1, РВО-10У1 к опорам воздушных высоковольтных ЛЭП с неизолированными проводами . Для крепления кронштейна к опоре ЛЭП применяются специальные хомуты типа Х7.
Спецификация кронштейна P-6:
| ПОЗИЦИЯ | НАИМЕНОВАНИЕ ДЕТАЛИ | КОЛИЧЕСТВО | МАССА, КГ |
| 1 |
Полоса 5х50 ГОСТ103-76 |
1 | 3,2 |
| 2 | Полоса 5х30 ГОСТ103-76 L=79 | 1 | |
| 3 | Полоса 5х50 ГОСТ103-76 | 1 | |
| 4 | Круг 10 ГОСТ2590-71 L=535 | 1 | |
| 5 | Круг 10 ГОСТ2590-71 L=570 | 1 | |
| 6 | Круг 10 ГОСТ2590-71 L=910 | 1 |
