от 765 ₽
Нашли дешевле?
Наличие уточняйте у наших менеджеров
Цены
Кронштейн Р-3 (Zn)
1 257 ₽
/шт Кронштейн Р-3 (эмаль)
765 ₽
/шт
Описание
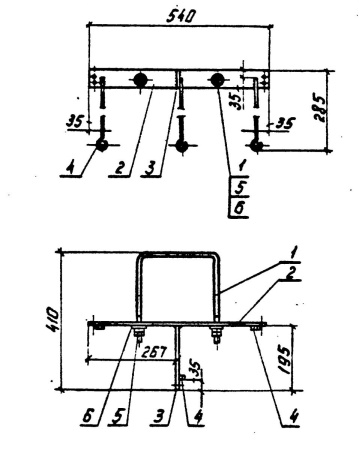
Кронштейн Р3 производится по рабочему чертежу 3.407.1-136.23.02 типового проекта 3.407.1-136 "Опоры железобетонные ВЛ 0,38кВ".
Кронштейн Р3 применяется при проведении монтажа разрядников старой конструкции типа РВН-0,5 У1 на воздушной ЛЭП номинальным напряжением 0,4 кВ.
Спецификация кронштейна P-3:
| ПОЗИЦИЯ | НАИМЕНОВАНИЕ ДЕТАЛИ | КОЛИЧЕСТВО | МАССА, КГ |
| 1 |
Круг В10 ГОСТ2590-71 L=747 |
1 | 2.2 |
| 2 | Полоса 5х50 ГОСТ103-76 L=540 | 1 | |
| 3 | Полоса 5х50 ГОСТ103-76 L=195 | 1 | |
| 4 | Круг В10 ГОСТ2590-71 L=300 | 3 | |
| 5 | Гайка М10 | 4 | |
| 6 | Шайба 10 | 2 |
